AI Agents That Shop (and Sell) For You

A Guide to Agentic Commerce

How autonomous AI shopping agents work — explained against an actual patent architecture — who's building them today, and the trillion-dollar opportunity ahead.

By George Krasadakis — Innovation Strategist, AI Advisor, Author of Innovation Mode 2.0 - Last updated: February 2026

 

Key Takeaways

  • AI shopping agents are autonomous systems that discover, negotiate, and purchase products on your behalf - not just recommend them.
  • McKinsey projects agentic commerce could reach $1 trillion in US retail revenue by 2030, with global projections of $3–5 trillion.
  • OpenAI, Google, Amazon, and Perplexity have all launched AI shopping agents. Over 90 startups are building in this space.
  • Three emerging protocols — Google's A2A, Anthropic's MCP, and OpenAI/Stripe's ACP — are forming the infrastructure layer.
  • Retailers who don't make their product data machine-readable risk becoming invisible to the next generation of shoppers.
 

From Patent to Reality: How a 2016 Vision Became Today's Race

In March 2016, I filed the ‘Artificial intelligence negotiation agent’ patent (US20170287038A1) describing a world where AI agents buy and sell on behalf of humans. The patent laid out a complete architecture: buyer agents discovering seller agents, multi-stage negotiations, market intelligence integration, and autonomous transaction execution.

The technology wasn't ready then — large language models didn't exist, and consumers weren't prepared to trust AI with their wallets. But the architecture was sound. Since its filing, the patent has been cited by 56 subsequent patent applications — from Visa, Capital One, Walmart, IBM, NEC, Samsung, and AT&T, among others. Some of these companies are now building for the era of agentic commerce.

The patent also anticipated the exact technology stack that would make it all work. In March 2016 — more than a year before the transformer architecture was even published — paragraph [0124] specified "machine learning, natural language processing, deep learning, neural networks, and game theory" as core implementation components. That is the AI stack powering autonomous agents today. Now, every major tech company is racing to build agentic commerce technologies. McKinsey projects this market could reach $1 trillion in US retail revenue alone by 2030, with global projections reaching $3–5 trillion.

McKinsey projects this market could reach $1 trillion in US retail revenue alone by 2030, with global projections reaching $3–5 trillion.

This article explains how agentic commerce works using the actual examples from the patent, shows how they map to what's being built today, and identifies the opportunities ahead. Whether you're a business leader, entrepreneur, or simply curious about where AI shopping is heading — this is what you need to get the big picture.

What Is Agentic Commerce?

The patent defined it simply: "A server-implemented framework that automates the discovery and negotiation of product sales online based on buyer- and seller-defined parameters and elasticity thresholds."

In plain English:

AI agents that find what you want to buy, negotiate the best price, and complete the purchase — without you lifting a finger.

The key word is autonomous. Today's AI shopping assistants mostly recommend products and link you to websites. Agentic commerce goes further: the AI doesn't just suggest — it acts. The way I approach it, autonomy comes not only as having the ‘power’ in making purchasing decisions, but also as the flexibility to decide, when to do so, what products and suppliers to consider and if/ when/ how to deviate from user’s stated preferences and directions. On the other hand, seller agents doing the same trying to optimize the world of the seller (retailer): make certain products move faster, optimize stock, optimize cash flow, market coverage and so on.

Agentic AIs will soon be able to negotiate prices, wait for sales, compare options across retailers, coordinate with other agents, and execute transactions independently.

This is what separates an AI shopping assistant from an AI shopping agent.

The assistant helps you shop. The agent shops for you.


How It Works: The Patent Architecture Explained

The patent described five core components. Let me walk through each one with the actual examples from the patent documentation.

1. Buyer AI Negotiation Agents

A buyer agent represents you - the consumer - in the marketplace. You tell it what you want, along with your preferences and constraints. The agent then searches for sellers, evaluates options, and negotiates on your behalf.

Patent Example — The Tesla:

"Consumers use their client devices to anonymously organize and set up automated, on-going buying plans executed by multi-criteria decision-making negotiation agents... for purchasing particular products (e.g., 2016 Tesla Model S) or types of products (e.g., compact sedan automobile)."

The buyer could specify: exact model, required features (autopilot, long-range battery), price range, and delivery timeframe. The agent would then find all sellers offering matching vehicles and negotiate the best deal automatically.

Today's Equivalent: OpenAI's Operator can browse the web and guide users through purchases. Perplexity's "Buy with Pro" handles search and checkout. Amazon's "Buy for Me" completes purchases on external websites. These are the first generation of buyer agents — still requiring human approval for most transactions, but the architecture aligns with the vision described in the ‘Artificial intelligence negotiation agent’ patent.

2. Seller AI Negotiation Agents

Sellers deploy their own AI agents that represent their inventory, pricing strategies, and business objectives. These agents automatically respond to buyer agent inquiries and negotiate within parameters set by the business.

Patent Example — The SUV Seller:

"A seller of vehicles may notice that the price of a particular sport utility vehicle (SUV) is decreasing due to increased gasoline prices; whereas, a more fuel-efficient model (e.g., electric, hybrid) of the same SUV may be selling much faster due to the uptick in gasoline prices. This fuel-efficient model may be identified as a high-demand product to be selling in the current environment by the seller AI negotiator."

The seller agent automatically adjusts its strategy based on market conditions — pushing fuel-efficient models when gas prices rise, adjusting pricing based on demand signals, all without human intervention.

Today's Equivalent: Shopify is building infrastructure for merchants to interact with AI agents. Stripe's Agent Toolkit enables businesses to receive payments and respond to buyer agents programmatically. Over 700 AI agent startups launched on Stripe in 2024. Companies like Constructor and Capacity are building AI shopping agents that retailers can deploy on their own sites.

3. Elasticity Thresholds: Teaching AI Your Flexibility

One of the patent's most important innovations was the concept of elasticity — recognising that human preferences aren't rigid.

When you say you want something "under £500," you probably wouldn't refuse a perfect option at £520. Elasticity captures this flexibility mathematically.

Patent Example — Weighted Preferences:

"A buyer may indicate that a particular price may not be exceeded, that delivery dates are flexible to a certain extent, but that the product must absolutely be purchased, thereby assigning a 'high' ranking to obtaining the product, a 'medium' weight factor to the price, and a 'low' ranking to the delivery time/date."

This allows intelligent trade-offs: the agent might accept a slightly higher price for faster delivery, or wait longer to get a better deal, based on what matters most to you.

Patent Example — Blockers:

"If a user is looking for a particular vehicle that has certain specifications (e.g., horsepower) but only wants to purchase a new vehicle, all seller AI negotiators attempting to sell a used version of the vehicle will be excluded, regardless of whether the used vehicles contain the sought-after specification."

Some constraints are non-negotiable. The patent called these "blockers" — hard requirements that cannot be traded away regardless of how attractive other terms might be.

Today's Equivalent: Modern AI assistants are beginning to learn user preferences over time. Perplexity uses "conversational memory" to remember past searches. ChatGPT draws on previous conversations to personalise recommendations. This is early-stage elasticity encoding — the systems are learning what you care about and how flexible you are.

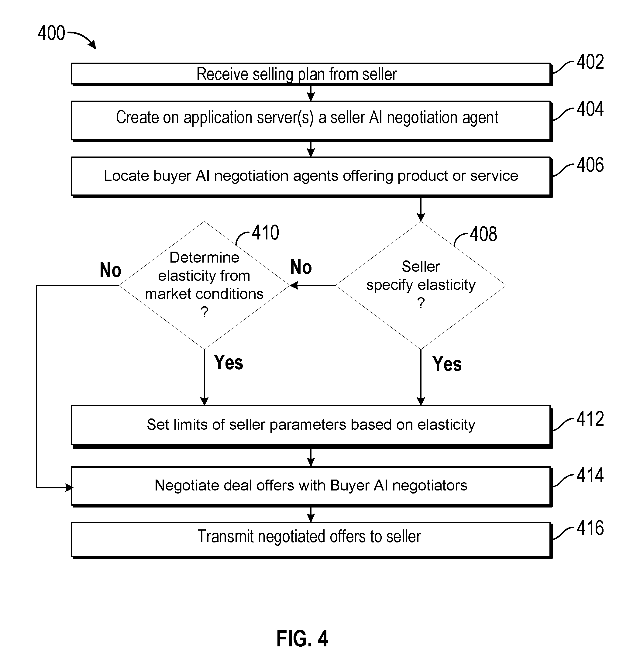
One of the core flows of the technology described in the “Artificial intelligence negotiation agent” patent

4. Multi-Agent Coordination: Agents Working Together

The patent described multiple agents working toward shared goals — coordinating their activities and sharing resources to achieve better outcomes than any single agent could accomplish alone.

Patent Example — The Annual Budget:

"If the buyer set the total spend to be $12,000 over the year for a product with twelve buyer AI negotiators being allotted $1,000 budgets each, the budgets of those agents may be increased (proportionally or not) if one of the buyer AI negotiators was able to purchase the product at a particular discount. In this manner, the buyer AI negotiators may not only work together to achieve the goals of the buyer, but may also discount each other based on the success or failure of negotiations in the market place."

If Agent #3 gets a great deal in March, saving £200, that saving can be redistributed to other agents — perhaps giving Agent #7 more flexibility to close a deal in July. The agents collectively optimise toward your overall goal.

Patent Example — Seller Coordination:

"A strategy may be something like: sell at least X volume of Product A, with an average/minimum profit margin. In a more complex scenario, the seller may set up multiple seller AI negotiators that all work together to achieve a shared goal in terms of product volume sold, cumulative revenue, cumulative profit, and/or stock recirculation."

Today's Equivalent: Google's Agent-to-Agent (A2A) protocol, launched in April 2025 with over 50 partners, provides a standard way for AI agents to discover each other and communicate. Anthropic's Model Context Protocol (MCP) standardises how agents connect to tools and data. These protocols are building the infrastructure for the multi-agent coordination the patent envisioned.

5. Market Intelligence Integration

The patent described agents that don't just follow instructions — they understand market context.

Agent AIs pull real-time data on pricing trends, inventory levels, social media sentiment, and industry news to inform their decisions.

Patent Example — The Tesla News Alert:

"Industry news (e.g., Tesla announces a new production line with capacity of 1000 Model S cars per month to service the Brazilian, Irish, and German markets) may be used to estimate the sales campaign timeframe."

If Tesla announces expanded production, a buyer agent might wait for prices to drop as supply increases. A seller agent might accelerate sales before new inventory floods the market. The agents respond to market signals in real-time.

Today's Equivalent: Through Retrieval-Augmented Generation (RAG) — AI systems that pull external information to inform their responses. Amazon's Rufus assistant answers product questions by drawing on reviews, specifications, and market context. Modern AI shopping agents check real-time pricing, read reviews, and factor in inventory availability.


Beyond Products: Services, B2B, and Complex Purchases

The patent explicitly extended beyond simple product purchases:

Patent Example — Services:

"The same AI buyer and seller agents may negotiate telecommunication services, insurance contracts, educational programs, automobile repairs, doctor visits, and attorney representations in the same manner as negotiating actual products. For services in particular, the AI agents may additionally negotiate times for provisioning of the requested services."

Patent Example — B2B Procurement:

"A buyer may set a particular set of product specifications to purchase (e.g., 35 cubicle desks) by a specific date, and multiple buyer AI negotiators may be set to purchase the desks within the timeframe, adjusting the price being paid as the deadline approaches."

This isn't just consumer shopping. It's enterprise procurement, service scheduling, contract negotiation — any scenario where two parties need to find mutually acceptable terms.


Who's Building Agentic Commerce Today?

The race is well underway. Here's the current landscape:

The Tech Giants

OpenAI launched Instant Checkout in September 2025, partnered with Stripe on the open-source Agentic Commerce Protocol, and built Operator — an agent that browses the web and completes multi-step tasks including purchases. Instant Checkout initially supports purchases from US Etsy sellers, with over one million Shopify merchants coming soon.

Google is building "Buy for Me" into Gemini and launched the A2A (Agent-to-Agent) protocol in April 2025 with 50+ partners, now grown to 150+ supporting organisations including PayPal, Salesforce, and SAP.

Amazon introduced its own "Buy for Me" feature in April 2025 — an AI agent that purchases from third-party websites within the Amazon app. Notably, Amazon has also sued Perplexity to block external AI agents from its marketplace, protecting its $56 billion advertising business (2024 revenue, with a $69 billion annual run rate heading into 2025).

Perplexity offers "Buy with Pro" for paid subscribers and a free shopping assistant with PayPal integration across 5,000+ merchants — taking a search-first approach that combines discovery with purchase.

The Infrastructure Players

Stripe powers 78% of the Forbes AI 50 and launched the Agent Toolkit enabling AI agents to process payments and create virtual cards. Over 700 AI agent startups launched on Stripe in 2024.

Visa launched "Intelligent Commerce" — infrastructure specifically designed for AI agents to make secure transactions.

PayPal is building infrastructure for agentic transactions, partnering with both Perplexity and OpenAI, with buyer protection policies extending to AI-initiated purchases.

Shopify is building comprehensive agent infrastructure including MCP servers and a "Universal Cart" system for multi-merchant transactions.

The Startup Wave

CB Insights identifies 90+ companies building in this space (as of 2025).

Notable players include Phia (price comparison, $8M raised), Daydream, Cherry, Onton, OneOff, Constructor, Capacity, and Envive. VCs backing the space include Accel, Andreessen Horowitz, Sequoia Capital, and Bain Capital Ventures — who have championed the term "Agentic Commerce Era."

The Emerging Protocol Stack

The patent's vision of agents communicating with each other requires standardised protocols. Three are emerging:

Google's A2A (Agent-to-Agent Protocol): Defines how AI agents discover each other, communicate, and coordinate tasks. Launched April 2025 with 50+ partners, now supported by 150+ organisations. This is the "horizontal" layer — agent-to-agent communication.

Anthropic's MCP (Model Context Protocol): Standardises how agents connect to external tools and data sources. Called the "USB-C port for AI applications." This is the "vertical" layer — agent-to-tool integration.

OpenAI/Stripe's Agentic Commerce Protocol (ACP): Open-source protocol specifically for retail transactions, bridging AI agents with merchant backends and payment systems. Launched September 2025 alongside Instant Checkout.

Google explicitly states A2A is "complementary" to MCP. Together, they form the infrastructure for the multi-agent negotiation the patent described nine years ago — the same architecture now cited by 56 subsequent patents across financial services, retail, telecommunications, and enterprise procurement.


The Market Opportunity

Multiple independent research firms are converging on the same conclusion:

Agentic commerce is not a niche trend — it's a structural shift in how the global economy transacts.

McKinsey projects the global opportunity at $3–5 trillion by 2030, with the US B2C retail market alone accounting for up to $1 trillion in agent-orchestrated revenue. Morgan Stanley estimates $190–385 billion in US agentic commerce spending, capturing 10–20% of online retail. Bain & Company forecasts AI agents completing 15–25% of all US e-commerce by the end of the decade. Citi Ventures sizes the total addressable market at $1.7 trillion by 2030, growing at a 67% compound annual rate.

 

The behavioural shift is already underway

  • 4,700% — Year-over-year growth in traffic from AI platforms to US e-commerce sites (Adobe, July 2025)

  • 50 million — Daily shopping-related queries on ChatGPT alone (OpenAI/Harvard)

  • 51% — Gen-Z consumers who have used AI-based search tools for shopping (Lily AI)

  • 23% — Americans who made a purchase via AI in the past month (Morgan Stanley)

The signal is clear: consumers are already shifting behaviour. The question is which businesses will be ready.

 

Opportunities Ahead

For Retailers

Generative Engine Optimisation (GEO): Just as SEO optimised for Google, GEO optimises product catalogues for AI agents. If an agent can't understand your data, you won't be discovered. With AI now accounting for up to 25% of referral traffic for some retailers (Bain/Similarweb), this is urgent.

Agent-ready infrastructure: Clean APIs, structured data, integration with A2A/MCP/ACP protocols. The retailers who build this infrastructure first will capture agent traffic.

First-party shopping agents: Deploy your own AI agents on your site to handle customer service, recommendations, and purchases — maintaining the customer relationship rather than ceding it to third-party platforms.

For Entrepreneurs

Vertical agents: Build specialized agents for specific categories — luxury goods, B2B procurement, travel, insurance. Specialization creates defensibility against general-purpose assistants.

Infrastructure tools: Agent orchestration, monitoring, security, compliance. CB Insights reports agent orchestration companies showing 87% average YoY headcount growth.

Agent-to-agent services: As agents negotiate with agents, new intermediaries emerge: identity verification, deal arbitration, reputation systems. 

Want to explore how AI agents can power your innovation process? The same agentic architecture reshaping commerce is transforming how organizations discover opportunities. Explore Ainna.ai to see how AI agents can systematically identify emerging technologies, partnerships, and market gaps for your organization.


Challenges and Open Questions

Trust and accountability: When an AI agent makes a bad purchase, who's responsible?

"When an AI agent shops on your behalf, trust becomes abstract, filtered through layers of data, automation, and institutional frameworks."

— McKinsey & Company

Half of consumers say they are not yet comfortable letting AI autonomously handle end-to-end transactions (Bain & Company) — but that comfort is growing fast.

Security risks: Agents with payment credentials are high-value targets. Prompt injection attacks — where malicious inputs hijack agent behaviour — present real dangers for agents with purchasing authority.

Platform control: Amazon's lawsuit against Perplexity highlights the tension between autonomous agents and platform incumbents. If agents bypass browsing, advertising-dependent business models face disruption.

Protocol fragmentation: Multiple competing standards risk fragmenting the ecosystem. The industry needs interoperability, not walled gardens.


Beyond Commerce: AI Agents for Innovation

The architectural principles in the patent — autonomous agents, intelligent matching, market intelligence integration, multi-agent coordination — extend far beyond shopping.

Consider innovation. Organisations struggle to systematically scan for opportunities across fragmented landscapes: emerging technologies, academic research, startup activity, patent filings, market shifts. The cognitive load of continuous monitoring exceeds human capacity.

This is why I built Ainna.ai — applying the same agentic AI principles to innovation discovery. Where the patent imagined agents finding the best deal on a product, Ainna's agents find the best opportunities for innovation: emerging technologies to watch, potential partnerships, market gaps to exploit. The architecture is the same; the application domain has evolved.

In my new book Innovation Mode 2.0: Designing Innovative Companies in the Era of Artificial Intelligence (Springer, 2026), I explore how AI agents are transforming corporate innovation — from discovery agents monitoring technology landscapes to evaluation agents assessing strategic fit to synthesis agents generating opportunity assessments. The agentic future isn't just about commerce; it's about augmenting human capability across every domain that involves finding, evaluating, and acting on complex opportunities.


This article is built around one of my US patents, filed in 2016 (US20170287038A1), which laid out a complete architecture for autonomous buyer and seller agents — multi-stage negotiation, elasticity thresholds, market intelligence integration, and autonomous transaction execution. Since its filing, the patent has been cited by 56 subsequent applications from Visa, Capital One, Walmart, IBM, and others now building such technologies. The AI stack it specified before transformers existed is the stack powering agentic commerce today. The question isn't whether this will happen — it's how quickly, and who will capture the value


Frequently Asked Questions

What is agentic commerce?

Agentic commerce is a model where autonomous AI agents browse, negotiate, and purchase products or services on behalf of consumers — going beyond simple recommendations to take independent action. Unlike traditional e-commerce where humans click through websites, agentic commerce delegates the entire shopping journey to an AI shopping agent.

How do AI shopping agents work?

AI shopping agents operate on a framework of user-defined preferences, price elasticity thresholds, and market intelligence. They discover products across multiple retailers, compare options against your criteria, negotiate terms (or wait for optimal pricing), and execute transactions — all while coordinating with other agents and adapting to real-time market conditions.

Which companies are building AI shopping agents?

The major players include OpenAI (Instant Checkout, Operator), Google (Buy for Me, Gemini Shopping), Amazon (Buy for Me, Rufus), and Perplexity (Buy with Pro). Infrastructure is being built by Stripe, Visa, PayPal, and Shopify. Over 90 startups are also active in the space, backed by firms like Andreessen Horowitz, Sequoia, and Accel.

Is agentic commerce safe?

Safety is improving rapidly. Protocols like Stripe's Agentic Commerce Protocol and Visa's Intelligent Commerce include cryptographic payment tokens, spending limits, and fraud detection designed specifically for agent-initiated transactions. Most current implementations still require human confirmation for purchases, though fully autonomous purchasing is on the horizon.

How big will the agentic commerce market be?

Projections converge around significant growth: McKinsey estimates $3–5 trillion globally by 2030, Morgan Stanley projects $190–385 billion in US spending, and Bain & Company forecasts AI agents completing 15–25% of all US e-commerce. Citi Ventures estimates the total addressable market at $1.7 trillion by 2030 with a 67% compound annual growth rate.

How should retailers prepare for agentic commerce?

Start with Generative Engine Optimisation (GEO) — making product data structured, clean, and machine-readable. Integrate with emerging protocols (A2A, MCP, ACP). Consider deploying first-party AI agents on your own site. And critically, ensure your product information is accessible to AI systems, because if an agent can't read your data, it can't recommend your products.


About the Author

George Krasadakis is an innovation strategist and AI advisor with over 20 patents in artificial intelligence and machine learning. He has held senior technology and innovation leadership roles at Microsoft, Accenture, and GSK. George is the author of Innovation Mode 2.0: Designing Innovative Companies in the Era of Artificial Intelligence (Springer, 2026), founder of Ainna.ai (an AI-powered opportunity discovery platform), and founder of The Innovation Mode consulting practice. He is based in Dublin, Ireland.


References

  1. Krasadakis, G. (2016). Artificial Intelligence Negotiation Agent. US Patent Application 20170287038A1. https://patents.google.com/patent/US20170287038A1/en

  2. McKinsey & Company (2025). The agentic commerce opportunity: How AI agents are ushering in a new era for consumers and merchants. https://www.mckinsey.com/capabilities/quantumblack/our-insights/the-agentic-commerce-opportunity-how-ai-agents-are-ushering-in-a-new-era-for-consumers-and-merchants

  3. Bain & Company (2025). 2030 Forecast: How Agentic AI Will Reshape US Retail. https://www.bain.com/insights/2030-forecast-how-agentic-ai-will-reshape-us-retail-snap-chart/

  4. Morgan Stanley (2025). Agentic Commerce Impact Could Reach $385 Billion by 2030. https://www.morganstanley.com/insights/articles/agentic-commerce-market-impact-outlook

  5. Citi Ventures (2025). Agentic commerce at scale: Why startups are key. https://www.citi.com/ventures/perspectives/opinion/agentic-commerce-why-startups-are-key.html

  6. CB Insights (2025). The agentic commerce market map. https://www.cbinsights.com/research/agentic-commerce-market-map/

  7. Google Developers Blog (2025). Announcing the Agent2Agent Protocol (A2A). https://developers.googleblog.com/en/a2a-a-new-era-of-agent-interoperability/

  8. Stripe (2025). What is agentic commerce? A guide to getting started. https://stripe.com/newsroom/news/stripe-openai-instant-checkout

  9. OpenAI (2025). Buy it in ChatGPT: Instant Checkout and the Agentic Commerce Protocol. https://openai.com/index/buy-it-in-chatgpt/

George Krasadakis

George Krasadakis is an Innovation & AI Advisor with 25+ years of experience and 20+ patents in Artificial Intelligence. A 4x startup founder, he has held senior innovation and technology roles at leading companies such as Microsoft, Accenture, and GSK, and has led 80+ digital product initiatives for global corporations. George is the author of The Innovation Mode (2nd edition, January 2026), creator of the 60 Leaders series on Innovation and AI, and founder of ainna.ai — the Agentic AI platform for product opportunity discovery.


https://theinnovationmode.com/george-krasadakis

https://ainna.ai
Previous
Previous

From Deterministic to Probabilistic: Rethinking Product Requirements for the AI Era

Next
Next

The Future of Agentic Commerce. Patented in 2016.